


 
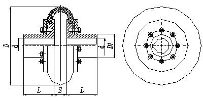
| 型號(hào) | 公稱轉(zhuǎn)矩 Tn N.m | 許用轉(zhuǎn)速(n) r/min | 軸孔直徑 d1,d2 | 軸孔長(zhǎng)度 | 尺寸 mm | 螺栓 | ||
| D | D1 | B | ||||||
| LB1 | 10 | 5000 | 6-11 | 16-25 | 60 | 20 | 26 | 12-M4*12 | 
| LB2 | 50 | 5000 | 10-19 | 25-42 | 100 | 36 | 32/37 | 12-M6*18 | 
| LB3 | 100 | 4500 | 16-24 | 30-52 | 120 | 44 | 39 | 12-M8*20 | 
| LB4 | 160 | 4200 | 22-35 | 38-82 | 140 | 50 | 45 | 12-M10*20 | 
| LB5 | 224 | 4000 | 25-38 | 44-82 | 160 | 60 | 51 | 12-M10*22 | 
| LB6 | 315 | 3600 | 30-45 | 60-112 | 185 | 70 | 58 | 12-M12*25 | 
| LB7 | 500 | 3200 | 35-50 | 60-112 | 220 | 85 | 68 | 12-M12*28 | 
| LB8 | 800 | 2600 | 40-56 | 84-142 | 265 | 110 | 82 | 12-M12*32 | 
| LB9 | 1250 | 2200 | 45-71 | 84-142 | 310 | 120 | 106 | 12-M16*40 | 
| ? | 1600 | 2000 | 55-75 | 84-142 | 340 | 135 | 106 | 12-M16*45 | 
| LB10 | 2250 | 1800 | 60-85 | 107-172 | 400 | 150 | 124 | 12-M20*50 | 
| LB11 | 5000 | 1600 | 80-120 | 132-212 | 445 | 190 | 140 | 12-M20*56 | 
| LB12 | 10000 | 1200 | 100-150 | 167-252 | 550 | 238 | 172 | 16-M24*71 | 
| LB13 | 20000 | 1000 | 130-200 | 202-352 | 700 | 318 | 220 | 24-M24*71 |