


 
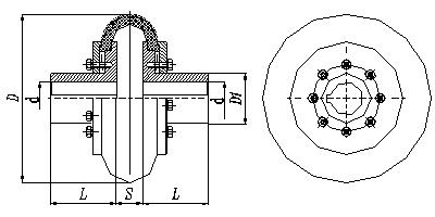
| 型號 | 公稱轉(zhuǎn)矩 Tn N.m | 許用轉(zhuǎn)速(n) r/min | 軸孔直徑 d1,d2 | 軸孔長度 | 尺寸 mm | 螺栓 | ||
| D | D1 | S | ||||||
| LA1 | 10 | 5000 | 6-11 | 16-25 | 60 | 20 | 4 | 12-M4*10 | 
| LA2 | 20 | 5000 | 8-19 | 14-42 | 100 | 36 | 8 | 12-M6*20 | 
| LA3 | 80 | 4000 | 18-28 | 30-62 | 135 | 48 | 12 | 12-M8*25 | 
| LA4 | 160 | 3150 | 25-38 | 44-82 | 180 | 64 | 18 | 12-M10*30 | 
| LA5 | 315 | 2800 | 32-50 | 60-112 | 210 | 80 | 18 | 16-M10*40 | 
| LA6 | 630 | 2500 | 40-56 | 84-112 | 265 | 100 | 24 | 16-M12*40 | 
| LA7 | 1250 | 2000 | 48-75 | 84-142 | 310 | 120 | 28 | 16-M16*50 | 
| LA8 | 2500 | 1600 | 60-95 | 107-172 | 400 | 150 | 38 | 16-M20*60 | 
| LA9 | 5000 | 1250 | 80-125 | 132-212 | 450 | 190 | 42 | 20-M20*70 | 
| LA10 | 10000 | 1000 | 100-150 | 167-252 | 550 | 230 | 52 | 24-M24*80 | 
| LA11 | 20000 | 800 | 138-180 | 202-302 | 700 | 280 | 70 | 32-M30*90 |